Оптоэлектронная интеграция Hybird | Электронная почта: sales1@cqwiseworld.com
Вы здесь: Дом » Продукты » Оптопара » Высокоскоростной W6236D/W6236S

loading

Поделиться с:
wechat sharing button
facebook sharing button
twitter sharing button
line sharing button
linkedin sharing button
whatsapp sharing button
sharethis sharing button

Высокоскоростной W6236D/W6236S

В этой серии оптопар используется толстопленочная технология для интеграции инфракрасных диодов и микросхем обработки детектора в керамическую трубчатую оболочку, что обеспечивает стабильную работу в широком диапазоне рабочих условий, что делает ее подходящей для приложений, где последовательная передача сигнала и изоляция имеют решающее значение. Конфигурация выхода с открытым коллектором обеспечивает гибкость при проектировании схем, обеспечивая простой интерфейс с различными логическими уровнями и внешними устройствами, одновременно повышая общую надежность оптопары за счет изоляции входных и выходных цепей, что предотвращает влияние шумовых помех и скачков напряжения на чувствительные электронные системы. Их можно использовать для цифровой изоляции аналого-цифрового преобразования, цифро-аналогового преобразования, высокоскоростной логической схемы компьютерного интерфейса, устранения контура заземления, замены импульсного трансформатора и т. д.
штат:
Количество:

Приложение

• Цифровая изоляция аналого-цифрового, цифро-аналогового преобразования.

• Схема компьютерного интерфейса

• Схема интерфейса микросистемы

• Высокоскоростная логическая схема.

• Преобразование уровней

• Изоляция входа и выхода прибора.

• Устранение контура заземления

• Замена импульсного трансформатора


Функции

• Напряжение изоляции > 1000 В.

• Напряжение источника питания 4,5–20 В.

• Максимальная скорость 1 Мбит/с.

• Совместимость с LSTTL/TTL

• Рабочая температура -55 ℃~+100 ℃.



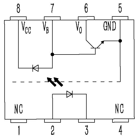
Размеры и определение выводов

Часть №.

Упаковка

Размер (мм)

Определение контакта (вид сверху)

W6236D

DIP8/ Одноканальный



W6236S

СОП8/ Одноканальный



*L: Стандартная длина составляет 1,2 мм и может быть изменена в соответствии с требованиями пользователя.


предыдущий: 
следующий: 
Решения для фотоэлектрической передачи, керамические корпусные оптопары и оптические твердотельные МОП-реле.
 

Быстрые ссылки

Категории продуктов

Связаться с нами

Добавить: № 7, Чахуа-роуд, район Наньань, Чунцин 401336, Китай.
ВКонтакте/WeChat/WhatsApp:
+86-13308395418
Электронная почта: sales1@cqwiseworld.com
Авторские права © 2025 Wiseworld Technology Co., Ltd. Все права защищены. Политика конфиденциальности | Sitemap